← Previous
Q50.P is a transparent glass filled with water as shown below. Q is a white cylinder with parallel lines printed around it. If the cylinder is viewed through the glass from the direction of the arrow, find the correct pattern observed.
Next →
Q52.What is the total number of musical instruments in the image below?
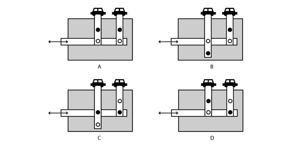
UCEED2026Q51·mcq·Hard
A toy is made with cardboard and rivets. As shown below, the two car cut-outs are attached on top of the parallel cardboard strips which should move when the child pushes or pulls the horizontal cardboard strip. Different linkage mechanisms are made with cardboard strips (rectangles) and connector pivots (circles). Black circles are fixed pivots (attached to the grey base) and white circles are moving pivots (not attached to the grey base). Which option will show a collision between the two cars?

Explore by topicAnalytical Reasoning Questions